info@mehprivod.ru
ООО Мехтехника
Тел.: 8 (800) 505-36-88

Логический модуль с дисплеем Siemens LOGO! 12/24RC

Логический модуль с дисплеем Siemens LOGO! 12/24RC

Характеристики модулей Siemens LOGO! 12/24RC 6ED1052-1MD00-0BA6:

  • Показатели питания: 12/24В;
  • Дискретные входы: 8 (4 могут выполнять функции аналоговых);
  • Дискретные выходы: 4 (нормально разомкнутые реле);
  • Особенности памяти: 200 блоков;
  • Дополнительные возможности: расширение функционального потенциала модулями ввода/вывода.

Цена: от 4 326 руб.

Общее описание

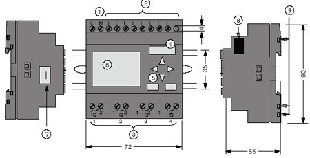
Устройство LOGO!12/24RC

  • 1 - источник питания
  • 2 - входы
  • 3 - выходы
  • 4 - гнездо под модуль, оснащенный крышкой
  • 5 - панель, посредством которой реализуются опции управления
  • 6 - дисплей
  • 7 - разъем для кабеля типа LOGO!TD
  • 8 - интерфейс расширения
  • 9 – опции механического кодирования - гнёзда

Особенности схемы подключения и максимальной конфигурация LOGO!12/24RC

Siemens LOGO! 12/24RC поддерживает 24 цифровых входов, 8 аналоговых входов, а также 16 цифровых и 2 аналоговых выхода. Для достижения параметров, характерных для максимальной конфигурации, используют нижеприведенную методику:

  • Максимальная конфигурация с аналоговыми входами – 4входа (LOGO!12/24RC/RCo и LOGO!24/24o)

Максимальная конфигурация LOGO!12/24RC

  • Максимальная конфигурация модулей LOGO! с аналоговыми входами (используется 2 входа (LOGO! 12/24 RC/RCo и LOGO !24/24o)

Максимальная конфигурация модулей LOGO! с аналоговыми входами

  • Максимальная конфигурация модулей данного класса LOGO! без аналоговых входов (LOGO! 24RC/RCo, а также LOGO! 230 RC/RCo)

Максимальная конфигурация LOGO! без аналоговых входов

Специфика монтажа модуля LOGO!12/24RC

Монтаж модуля LOGO!12/24RC

Поэтапный монтаж на DIN-рейку:

1. На первом этапе осуществления монтажных работ следует навесить модуль на рейку;
2. Путем нажимания на нижнюю часть, срабатывает специальная защелка модуля, выполняется надежная его фиксация (защелка расположена на задней части прибора);
3. С правой стороны модуля находится крышка разъема, которую необходимо снять;
4. С правой стороны от LOGO!Basic помещается модуль на DIN-рейку;
5. Перемещаем модуль в левую сторону таким образом, чтобы последний контактировал с LOGO!Basic;
6. Посредством отвертки защелка отодвигается влево, после чего она должна занять крайнее левое положение.

Монтаж дополнительного оборудования выполняется путем поэтапного повторения всех пунктов, относящихся к монтажу цифрового модуля.

Поэтапный монтаж на стену:

Аккуратно переместите монтажные защелки наружу, как правило, они расположены на задней стенки устройства. Непосредственно монтаж модуля выполняется при помощи двух монтажных защелок и двух винтов ØM4 (момент затяжки 0,8-1,2Нм).

Монтаж LOGO!12/24RC

Технические характеристики LOGO!12/24RC:

Блок питания:
Входное напряжение 12/24В (ток постоянный)
Допустимый диапазон 10,8...28,8В (ток постоянный)
Защита от обратной полярности Имеется
Потребление тока
• 12В (ток постоянный)
• 24В (ток постоянный)
30...140мА
20...75мА
Буферизация исчезновения напряжения
• 12В (ток постоянный)
•24 В (ток постоянный)
тип. 2мс
тип. 5мс
Мощность потерь
• 12В (ток постоянный)
• 24В (ток постоянный)
0,3...1,7Вт
0,4...1,8Вт
Буферизация часов в условиях 25°C тип. 80час.
Точность опции часов реального времени тип. ±2 с/день
Цифровые входы:
Количество 8
Потенциальная развязка Нет
Входное напряжение L при
• Сигнал 0
• Сигнал 1
< 5В (ток постоянный)
> 8В (ток постоянный)
Входной ток при
• сигнале 0
• сигнале 1
< 1,0мА (I1...I6)
< 0,05мА (I7, I8) > 1,5мА (I1... I6)
> 0,1мА (I7, I8)
Время задержки при
• переходе с 0 на 1
• переходе с 1 на 0
тип. 1,5мс <1,0мс (I5, I6)
тип. 1,5мс <1,0мс (I5, I6)
Длина линии (неэкранированной) 100 м
Аналоговые входы:
Количество 2 (I7 = AI1, I8 = AI2)
Диапазон 0...10В (ток постоянный) входной импеданс 76кОм
Время цикла, необходимое для формирования аналоговых значений 300мс
Входное напряжение (max) 28,8В (ток постоянный)
Длина линии (экранированная витая пара) 10м
Цифровые выходы:
Количество 4
Тип выходов Релейные выходы
Потенциальная развязка Да
Группами по 1
Управление цифровым входом Да
Длительный ток Ith (на клемму) 10A на реле (max)
Нагрузка из ламп накаливания (25 000 циклов переключения) 1000Вт
Люминесцентные лампы с дросселем (25 000циклов переключения) 10 x 58Вт
Люминесцентные лампы с обычной компенсацией
(25000 циклов переключения)
1 x 58Вт
Люминесцентные лампы, некомпенсированные (25000
циклов переключения)
10 x 58Вт
Понижение номинала нет; во всем диапазоне температур
Устойчивость к коротким замыканиям при cos  = 1 Защита по питанию B16 600A
Устойчивость к коротким замыканиям при cos  от 0,5 до 0,7 Защита по питанию B16 900A
Параллельное включение выходов для увеличения мощности Не допускается
Защита выходного реле (если желательна) макс. 16A, характеристика B16
Частота включений:
механическая 10Гц
омическая/ламповая нагрузка 2Гц
индуктивная нагрузка 0,5Гц